主营:给水设备,无负压变频供水设备,各类水泵,恒压供水设备,无负压变频给水设备
所在地:
上海 上海
产品价格:
面议/台(大量采购价格面议)
最小起订:
1
发布时间:
2026-04-02
有效期至:
2026-10-02
产品详细
LG型高层建筑多级给水泵系立式单吸多级分段式离心泵,供输送常温清水及物理化学性质类似于清水液体。LG型高层建筑多级给水泵为立式安装,电机轴与泵轴通过爪型联轴器联接,具有结构紧凑、噪音低、占地面积小的优点,主要应用于高层建筑供水,也可应用厂矿,企业给水排水以及低压锅炉循环用水。
LG型高层建筑多级给水泵为立式结构,其吸入口位于泵座上,吐出口位于后段上,呈180°水平方向布置,根据需要,吸入口和吐出口也可以呈0°、90°、270°布置,可根据扬程的需要选择水泵的级数。
LG型高层建筑多级给水泵的主要零件有:泵座、中段、后段、叶轮、导叶套、导叶、后导叶、支座、电机座、轴、轴承、轴套、密封环、平衡鼓、平衡鼓套等(25LG、32LG和40LG三种泵没有平衡鼓和平衡鼓套,而设有水封环,装在填料腔的底部)。 泵座、中段、后段、叶轮、导叶套、导叶、后导叶、支座、电机座、轴套乙、密封环均为铸铁制成。
泵轴为合金结构钢制成,中间有叶轮、轴套乙、平衡鼓、用键和小圆螺母固定在轴上组成转子部件,轴的下端装有轴套甲与滑动轴套相配合,轴的上端装有两个角接触球轴承,借以支承转子部件,泵轴的上端与电机轴的下端通过爪型联轴器联接。
密封装置采用软填料密封和机械密封。在采用软填料密封时,与之相摩擦的轴套丙为碳素钢制成,并经淬火处理,以增加面磨性。
叶轮为铸铁制成,由于叶轮前后受压不等,必然存在轴向力,此轴向力绝大部分由平衡鼓来承担(25LG、32LG和40LG则由水封环组成平衡管路承担)。其余小部分残余轴向力由轴上端的两个角接触球轴承来承受,由平衡鼓和平衡鼓套组成的平衡装置,磨损后可以更换。
在泵座、中段上装有密封环和口环、用以减少高压水漏回进水部分,密封环磨损后可更换。泵上端的角接触球轴承用钙基黄油润滑,下端的滑动轴承(轴瓦)以泵输送的液体润滑,泵的旋转方向,从电机端看为逆时针方向转动。
|
刚性连接
|
柔性连接
|
||||||||||||||||
|
1 |
球阀 |
2 |
挠性接头 |
3 |
取压直管 |
4 |
真空压力表 |
1 |
球阀 |
2 |
挠性接头 |
3 |
取压直管 |
4 |
闸阀 |
5 |
弯管 |
|
5 |
闸阀 |
6 |
止回阀 |
7 |
压力表 |
8 |
水泥台座 |
6 |
泵 |
7 |
联接板 |
8 |
JGD型隔振器 |
9 |
水泥台座 |
10 |
泵 |
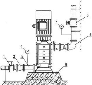
1、安装前应检查有无杂质在泵的流道内。
2、安装位置应尽可能靠近水源处。
3、LG型高层建筑多级给水泵与底座安装有两种方式,一种直接装在水泥基础上的刚性连接,另一种是采用JGD型减振器安装的柔性连接,具体方法见安装示意图所示。
4、直接泵放在基础上垫高30~40毫米(准备充填水泥浆之用),然后进行校正,并穿好地脚螺栓,充填水泥砂浆,经3~5开水泥干涸后,重新校正,待水泥完全干涸后,拧紧地脚螺栓的螺母。
5、安装管路时,进、出水管路都应有各自的支承,不应使泵的法兰承受过大的管路重量。
6、用于有吸程场合,进水管端应装有底阀,并且进口管路不应有过多弯道。同时不得有漏水、漏气现象存在。
7、在进口管路装有过滤网,以防杂质进入叶轮内部。滤网的有交面积应是进水管面积3~4倍,以液体的自由畅通。
8、为了维护和使用方便,在泵的进口管路上安装一只球阀和在泵出口附近安装一只压力表,并在压力表前面安装一只自位阀(防水锤),以泵在额定范围内运行,泵的正常运行和使用寿命。
9、进口如需扩径连接,请选用偏心异径管道接头。
上海三利泵业(集团)有限公司生产销售LG型高层建筑多级给水泵,型号齐全,欢迎咨询选购!
系统工作压力为2.4Mpa,即泵的吸入压力 泵扬程≤2.4MPa,泵的静压试验压力3.6Mpa。
订货时请注明系统工作压力,若泵系统工作压力超过2.4Mpa时,请在订货时予以说明,以便另行设计、制造。
LG型高层建筑多级给水泵适用于住宅、宾馆、办公大楼等高层建筑恒压供水、消防、喷淋给水设备配套用泵;也适用于化工流程冷却塔的自动;系统稳压、生产工艺循环用水、远距离输送、锅炉给水等给水设备之用。可输送的液体为常温(80℃)(热水型可输送温度小于105度的介质)清水或物理、化学性质类似于水的常温介质。
1、结构紧凑、体积小、外形美观,其结构决定安装占地面积小,如加上防护罩可置于户外使用。
2、叶轮直接安装在电机轴上,从而泵的同心度,因而增强了运行稳定性和延长使用寿命。
3、轴封采用机械密封或机械密封的组合,采用的质合金密封环,增强了密封的耐磨性能有效寿命。
4、安装检修方便,无需拆动管路系统。泵进口和出口为相同口径,简化了管路的连接。
5、可根据流量和扬程的需要采用泵的串、并联运行方式。
6、扬程可根据需要增减水泵级数并结合切割叶轮外径予以满足,而不改变安装占地面积。
『上 海 三 利 』承诺
☆. 上海三利泵业(集团)有限公司产品按厂家技术标准生产。
☆. 购买我司产品,享受一年内的免费维修(易损件除外);在质保期内如果有小件损坏,快递配件由买家更换,如果是大件不可修问题,返厂维修或者换新的。
☆. 产品为木箱包装,内附产品说明书、合格证各一套。
